Vous avez acheté ou êtes en train de porter votre attention sur une cheminee ethanol murale : c'est assurément un bon choix. Elle vous apporte la possibilité d'avoir une vraie cheminée chez vous, sans avoir à demander l'accord de votre propriétaire au préalable. Son installation n'est en rien irréversible puisqu'elle ne requiert pas l'usage d'un couteux et parfois même inadaptable conduit d'évacuation des gaz de combustion. Elle ne vous demandera même pas d'être un as du bricolage afin d'être installée à domicile.
Vous n'aurez pas besoin de faire appel à un professionnel pour installer votre cheminée éthanol murale. Nous fournissons l'intégralité de nos modèles avec le kit de fixation qui lui est dédié. Ce dernier s'installe assez facilement, à la manière d'une étagère ou encore d'un tableau.
Assurez vous de la solidité du support récepteur : certains modèles atteignant allègrement les 40 kg demandent un mur solide afin d'être maintenues durablement dans le temps. Évitez ainsi les matériaux creux et friables comme la briquette par exemple. Assurez vous que le mur d'accueil ne soit pas poreux, auquel cas un arrachement pur et simple de la cheminée pourrait intervenir à terme.
Évitez également certains papiers peints anciens ou encore les moquettes murales : la chaleur pourrait favoriser leur noircissement voir un départ de feu. N'hésitez pas à nous contacter en cas de doute.
Rassurez vous enfin : le kit de fixation assure un léger décrochage entre le corps de la cheminée et le mur, utile à la dissipation de la chaleur.
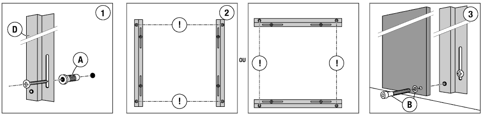
Nous fournissons des chevilles nylon, qui conviennent à la plupart des matériaux durs comme les murs en béton. Dans le cadre d'une fixation sur un autre type de support, utilisez des chevilles adaptées (molly pour le placoplâtre par exmple).
Ce premier kit est composé de deux barres qui viendront se fixer au mur, horizontalement ou verticalement suivant la cheminée que vous aurez choisie. Il est à votre charge de réaliser un gabarit de perçage afin de correctement positionner les éléments sur le mur. Une fois les barres fixées, il ne vous restera plus qu'à venir y fixer la cheminée.

Il est beaucoup plus simple à installer. Une première barre permettra d'arrimer les suivantes.
